人口TID_画师tid
日期:2021-03-23 类别:热点图片 浏览:
消息源自知名爆料人tidux,tidux此前就曾爆料过ps4的更新计划,而且最终被证实所言非虚.
jpg,1244x700,86911b
TID速锐破车 垃圾人员写的垃圾A9
jpeg,268x488,17443b
图2:创建日志文件_ 4)选中创建日志文件,然后在extra logging channels字段中输入+ seh,+ tid,或者如果支持人员指示您在下拉菜单中选择额外的频道.
jpg,303x600,26605b
出院带药_ 华法林钠片 2.5 mg po qd,氯吡格雷片 75 mg po qd,阿托伐他汀钙片 20 mg po qn,盐酸贝那普利片 10 mg po qd,二甲双胍肠溶片 250 mg po tid,重组人胰岛素注射液 10 iu h bid,
png,565x692,41710b
6. 查询11网络工程和10电子商务2班一共有多少人_ select count( studentid ) 人数_ and classname in ('11网络工程','10电子商务2班')_ 5. 求姓名第二个字是丽的同学选修了哪些课程,请写出同
png,413x784,54621b
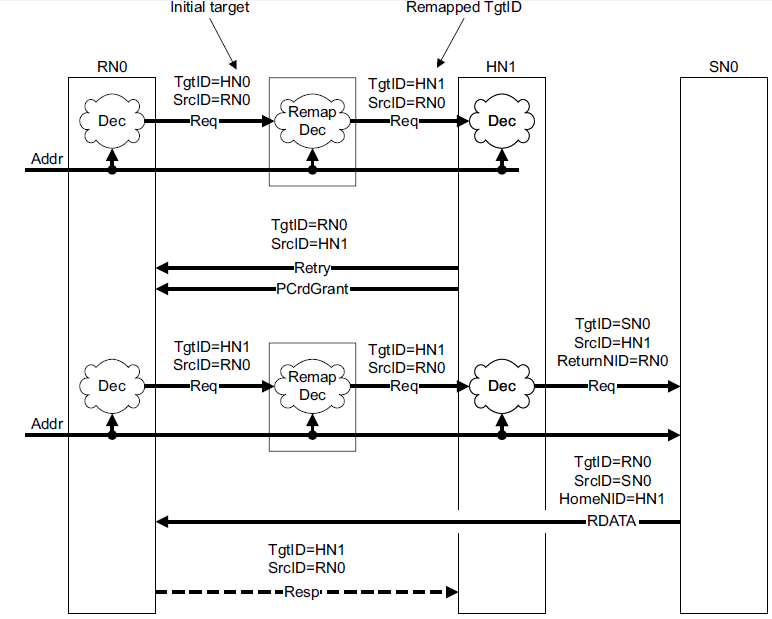
图3为icn发送人map,且rn收到retry响应的transaction flow,除了retry响应,其它transaction flow和flow with interconnect based sam一致.
jpg,249x257,19262b
但是furyhunter的墙德比较薄,带了焦油,而a83650带的515穴居人食菌者可能会在墙德内战中发挥关键作用.
png,531x600,145818b
文章来源:电子人社区_ 原文链接:http://forum.dzrplus.com/forum.php?
png,342x600,9166b
年轻人专属定制 个性时尚型suv购车指南
png,540x600,15016b
年轻人专属定制 个性时尚型suv购车指南
png,1173x660,28483b
毒主题到底是什么人搞的 更新坑人帖子
png,221x500,55933b
》内容里(详情可搜索微信公众号:走芯人)我有详细写过epc、user和tid三者存储的区别,具体不展开了.
jpg!640,667x375,31508b
昨天收了一个糖尿病足的人,化验结果提示三系减少
jpg!640,667x375,94095b
昨天收了一个糖尿病足的人,化验结果提示三系减少
jpg!640,667x375,33681b
昨天收了一个糖尿病足的人,化验结果提示三系减少
jpg!640,667x375,34698b
昨天收了一个糖尿病足的人,化验结果提示三系减少
jpg!640,667x375,31837b
昨天收了一个糖尿病足的人,化验结果提示三系减少
jpg!640,667x375,32823b
昨天收了一个糖尿病足的人,化验结果提示三系减少
jpg,504x640,83223b
连续两年巨亏 瑞信宣布再裁员至多6500人
png,619x772,86520b
图3为icn发送人map,且rn收到retry响应的transaction flow,除了retry响应,其它transaction flow和flow with interconnect based sam一致.
推荐阅读
相关文章
- 总排名
- 每月排行
- 推荐阅读
- 阅读排行





















